圧電式加速度変換器(アンプ内蔵型) SV2305

圧電式加速度変換器(アンプ内蔵型) SV2305

  • 3軸
  • 小型
  • ケーブル:横出し

ラインナップ

型名 最大使用加速度 商品コード JANコード
SV2305 5,000m/s2 AVSV2305 4981046118910
SV2305
最大使用加速度 5,000m/s2
商品コード AVSV2305
JANコード 4981046118910

仕様

感度
1.0mV/m/s2
最大使用加速度
5,000m/s2
最大許容加速度
30,000m/s2
周波数範囲
2~10kHz(X,Y軸)
  ~15kHz(Z軸)
共振周波数
55kHz
駆動電源(定電流駆動)
21~30V、2~10mA
構造
せん断型
温度範囲
-50~120℃
ケース対取付面
接地
ケース材料
チタン(Ti-6AL-4V)
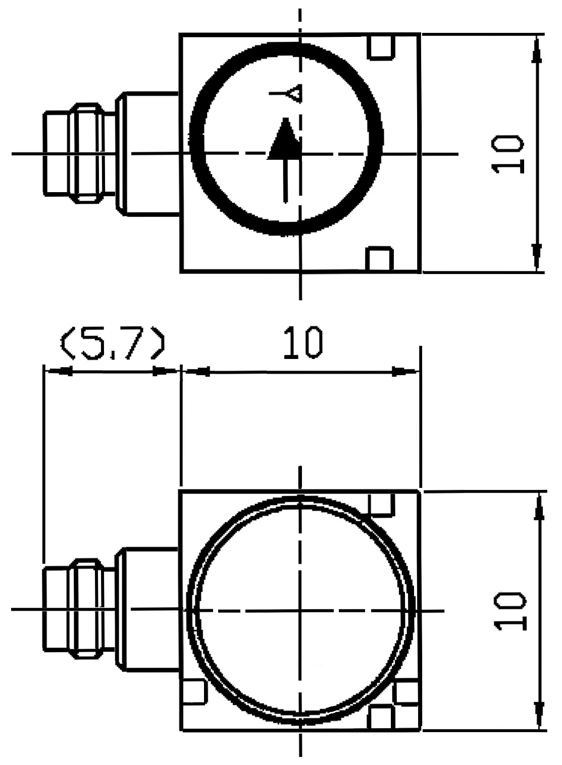
外形寸法
10×10×10mm
取付方法
接着またはボルト止め(M3×2)
コネクタ
1軸方向(4P専用コネクタ)
付属品
ボルト(M3×4,P=0.5)×1、専用台座(SA11ZSCA-02)×1
質量
4.4g
-
-

外形寸法図

SV2305 外形寸法画像

アクセサリ

圧電式加速度変換器用ケーブル、他アクセサリー